Slunolamy
Primárním cílem slunolamů je redukovat průnik přímého slunečního záření do interiéru a zabránit nadměrnému přehřívání. Nebrání průniku nepřímého slunečního záření a v místnosti tak zůstává dostatek světla. Optimální úroveň jasu v místnosti je 500–1500 luxů, ovšem sluneční světlo, které dopadá z vnějšku na budovu má sílu v rozsahu 10–100 tisíc luxů, proto je doporučeno sluneční svit regulovat.

Funkce produktu ve stavbě
- Slouží jako stínicí prvky, které regulují sluneční svit v interiéru
- Ochrana před tepelnou radiací
- Velmi dobrá odolnost vůči povětrnostním podmínkám (slunce, vítr, déšť, mráz, sníh)
- Odolnost vůči korozi
- Architektonický prvek
Užitné vlastnosti produktu
- Zastínění okenní sestavy rodinných domů a celých budov
- Ochrana před přímým slunečním zářením
- Ochrana před nadměrným přehříváním
- Dotváří zdravé životní prostředí
- Možnost napojení na řídicí systémy
- Široká nabídka tvarů a šířek lamel
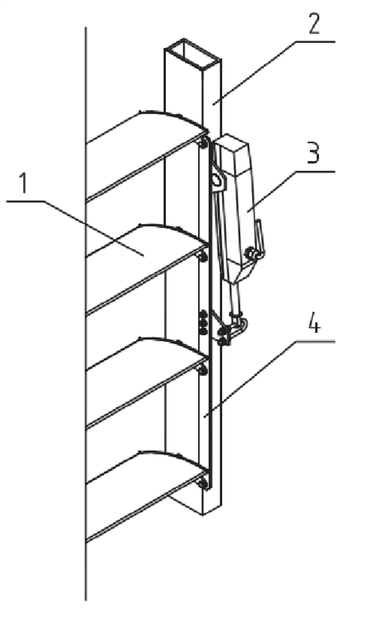
Technický popis produktu



| Legenda: | |
|---|---|
| 1 | Nosník |
| 2 | Lamela |
| 3 | Koncovka |
| 4 | Šroubový spoj |
| 5 | Držák lamely |
| 6 | Konzole |
| 7 | Motor |
| 8 | Táhlo |
Materiálové složení
Materiálové složení se liší dle typů výrobků a deklarovaných vlastností a dle jednotlivých výrobců.
| Komponent | Materiál | ||||
|---|---|---|---|---|---|
| Hliník | Ocel | Dřevo | Sklo | Plast | |
| Lamela | ANO | ANO | ANO | ANO | ANO |
| Nosník | ANO | ANO | ANO | NE | NE |
| Držák lamely | ANO | ANO | NE | NE | ANO |
| Konzole | ANO | ANO | NE | NE | NE |
| Koncovka | ANO | ANO | ANO | NE | ANO |
Rozdělení produktu
Slunolamy lze členit dle několika základních parametrů:
- Šířka a tvar lamel
- Materiál
- Způsob provedení
- Způsob ovládání
Podle šířky a tvaru lamel
Lamely slunolamu se používají jako protisluneční clony, zejména pro zastínění prosklených budov, oken a světlíků. V moderní architektuře se lamely začínají používat dokonce jako architektonický prvek.
| Tvary lamel | |||
|---|---|---|---|
| Šířka lamel | Otevřené | Polootevřené | Uzavřené |
| 80 mm | |||
| 100 mm | |||
| 100 mm | |||
| 110 mm | |||
| 120 mm | |||
| 140 mm | |||
| 150 mm | |||
| 150 mm | |||
| 180 mm | |||
| 190-200 mm | |||
| 250 mm | |||
| 300 mm | |||
| 400-415 mm | |||
Podle materiálu
- Hliníkové
- Ocelové
- Speciální
- dřevěné
- skleněné
Podle způsobu provedení
- Slunolamy s pevnými lamelami
Pevné slunolamy jsou specifické tím, že jsou fixovány nastálo. Pozice lamel je pevně dána a nelze s nimi pohybovat. Optimální sklon lamel je nastavený vzhledem k dané lokalitě a světové orientaci. Lamely potom mohou být více či méně naklopené.
- Horizontální slunolamy s rozdělením podle pozice lamel ke konstrukci a zakončení
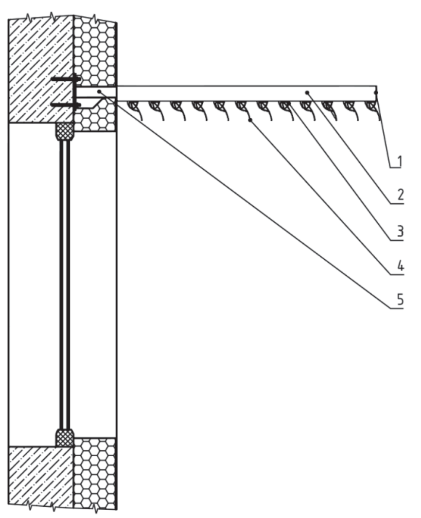
Horizontální slunolamy se umisťují nad jednotlivá okna nebo v souvislé délce po fasádě. Nosná konstrukce drží celý lamelový systém a ten je tvořen horizontálně umístěnými nosnými profily, které jsou ve stanovené vzdálenosti. Dle této vzdálenosti se používají různé druhy lamel. Sklon lamel u horizontálních slunolamů je různý, převážně závisí na typu lamely a požadavcích zákazníka. Při aplikaci horizontálního slunolamu je výhled ven nedotčen.
Schéma horizontálního slunolamu bez krycí lamely – dolní
Schéma horizontálního slunolamu bez krycí lamely – horní
Schéma horizontálního slunolamu s krycí lamelou – dolní
Schéma horizontálního slunolamu s krycí lamelou – horní
- Horizontální slunolamy podle fixace nosných prvků
V případě požadavku na větší vyložení slunolamu je nutné použít závěsná lanka nebo táhla. Je tím umožněno zvolení větší rozteče nosníků oproti standardnímu řešení. Závěsný systém je tvořen nerezovým lankem, úchyty a napínákem, což umožňuje přesné nastavení délky lanka. Další variantou horizontálního slunolamu s velkým vyložením je slunolam na kovové konstrukci.
Horizontální slunolam s vyložením na lanko
Horizontální slunolam s vyložením na táhlo
Horizontální slunolam na ocelové konstrukci
- Horizontální slunolamy s rozdělením podle pozice lamel ke konstrukci a zakončení
-
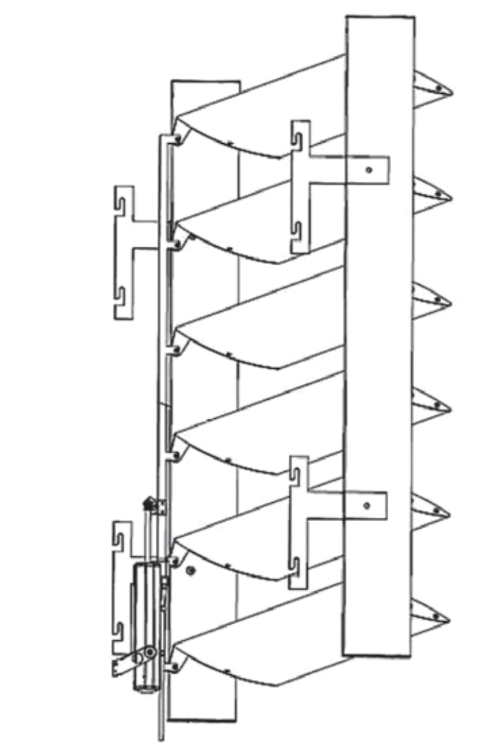
- Vertikální slunolamy
Vertikální slunolamy lze umístit před okna nebo po celé fasádě a slouží tak jako fasádní systém. Nosná konstrukce drží celý lamelový systém, který je tvořen vertikálně umístěnými nosnými profily ve stanovené vzdálenosti. Dle této vzdálenosti se používají různé druhy lamel. Sklon lamel u vertikálních slunolamů je různý, převážně závisí na typu lamely a požadavcích zákazníka.Možné úhly nastavení lamel slunolamu
Vertikální slunolam
Pevný slunolam s držákem
Pevný slunolam – řešení s koncovkou
Pevný vertikální slunolam
Pevný vertikální slunolam
Vertikální slunolam s velkými lamelami
- Speciální slunolamy
Speciální slunolamy se používají pro nestandardní řešení aplikací. Lze se tak lépe přizpůsobit zadaným požadavkům a tím přesněji doladit jednotlivé prvky do celku.Speciální slunolam
– posuvný systém – realizace
Speciální slunolam – posuvný systém
Speciální slunolam – vyklápěcí systém
- Vertikální slunolamy
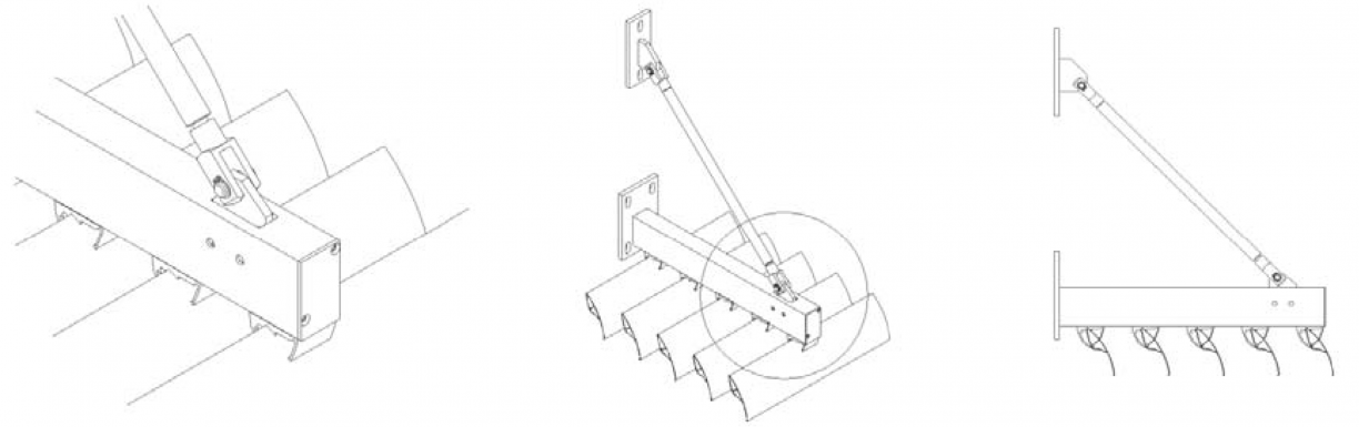
- Slunolamy s pohyblivými lamelami
Pohyblivé slunolamy jsou složeny ze samostatných souběžných profilů. Prostřednictvím elektromotoru se lamely naklápějí podle potřeby tak, aby bylo dosaženo nejlepšího účinku.
- Horizontální slunolamy s pohyblivými lamelami
Pohyblivý horizontální slunolam
Pohyblivý horizontální slunolam – realizace
Pohyblivý horizontální slunolam – zavřená poloha lamel
Pohyblivý horizontální slunolam – otevřená poloha lamel
- Vertikální slunolamy s pohyblivými lamelami
Pohyblivý vertikální slunolam
Pohyblivý vertikální slunolam – realizace
- Horizontální slunolamy s pohyblivými lamelami
Podle způsobu ovládání
- Pevné slunolamy – bez ovládání
- Pohyblivé slunolamy
- Motorické ovládání
- Napojení na systém řízení budovy
Technické normy
- ČSN EN 13561 Vnější clony a markýzy - Funkční a bezpečnostní požadavky
- ČSN EN 13120+A1 Vnitřní clony - Funkční a bezpečnostní požadavky
Stavební připravenost
Před montáží slunolamů by měly být dokončeny všechny stavební práce, aby se předešlo jejich možnému poškození nebo znečištění.
Musí být proveden předepsaný přívod elektroinstalace podle druhu použité stínicí techniky a známa místa, kde budou umístěny ovladače (vypínače). V případě napojení na řídicí systémy, by tyto měly být již instalovány. Pro pohony by měl být samostatný proudový okruh s vlastním jističem.
Slunolamy mají svá přesná specifika, a proto by se zejména v jejich případě měla stavební připravenost předem řešit s dodavatelem.
Údržba, opravy, čištění
- alespoň dvakrát ročně (na jaře a před zimou):
- vizuálně zkontrolovat nosnou konstrukci; pokud je to nutné, vyčistit povrch hliníkových profilů od nečistot, prachu a smogu; k čištění se používá měkčený vlhčený hadřík; silné znečištění může být odstraněno běžnými čisticími prostředky na lakované povrchy automobilů; na očištění konstrukce se nepoužívají agresivní čisticí prostředky jako organická ředidla, rozpouštědla, čistící pasty a písky a silné alkalické čisticí prostředky
- alespoň dvakrát ročně (na jaře a před zimou) zkontrolujte utažení všech šroubů a spojovacích prvků
- průběžně:
- odstraňovat hrubé nečistoty jako větve z lamel střechy pergoly







